当前所在位置: 首页 » 新闻动态 » 内容管理 » 文章管理 » 如何使用文章系统?

如何使用文章系统?

浏览数量: 6     作者: 本站编辑     发布时间: 2018-10-31      来源: 本站

一.什么是文章系统


文章系统展示的是新闻资讯相关信息,文章系统包括新闻页面与新闻详情页面两个页面;

11


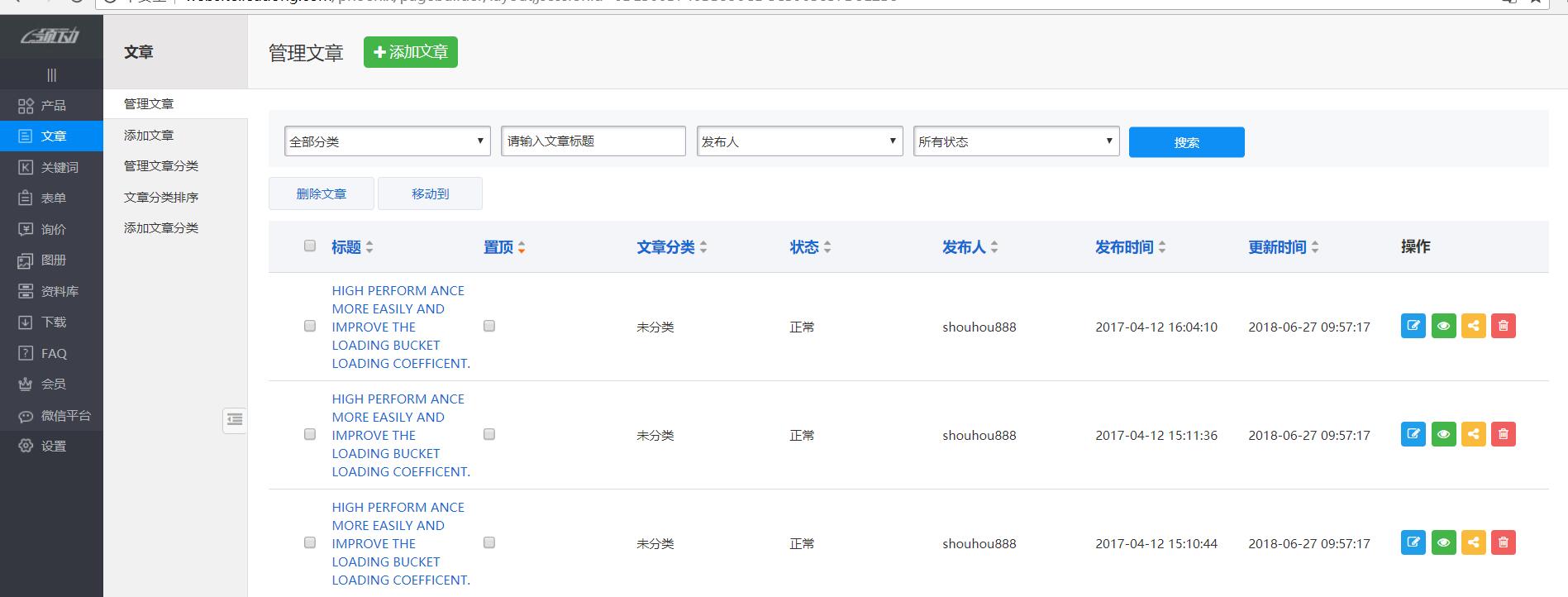
二.如何使用文章系统


1.新闻页面


(1)新闻页面上常配置文章分类组件,文章列表组件,以实现单击某个分类就可以展示该分类下的文章;

(2)新闻页面是所有文章分类的排版模板页面;

请注意!为确保可以展示所有分类下的新闻,文章列表组件需要选择“所有文章分类”选项;

1


2.新闻详情页面


(1)新闻详情页面通常配置文章分类组件,文章详情组件;

(2)新闻详情页面是所有文章详情页面的排版模板页面;

(3)添加好文章,文章分类等内容之后,文章列表组件,文章分类组件,相关文章组件等组件就会根据组件设置来自动调取内容。


点击新闻页面上的某篇新闻,就会跳转到新闻详情页面。


3.添加文章相关内容的入口


在内容->文章管理中添加文章详细信息,文章分类信息,填写好之后文章列表组件,文章分类组件,文章详情组件,相关文章组件等文章组件就可以自动调取这些文章信息了。

1


如何添加文章,请参考此攻略:http://www.ywtaifuyun.com/id6992646.html

如何添加文章分类,请参考此攻略:http://www.ywtaifuyun.com/id6438836.html


扫描二维码获得更多泰孚资讯

行业解决方案

联系我们

电话:18967492188
地址:
义乌市城北路辅路环球大厦2311室
工作时间:周一至周五8:30-18:00周六9:00-18:00
扫一扫添加
Copyright     义乌市泰孚信息技术有限公司   版权所有   浙ICP备18006533号-1